环球音乐集团与网易云音乐宣布达成多年期授权协议,百万首曲目登陆网易云平台
X平台正式开源推荐算法,马斯克称没有其他社交媒体公司这样做
灵光APP上线3天扩容8轮 冲上App Store中国区免费榜第六
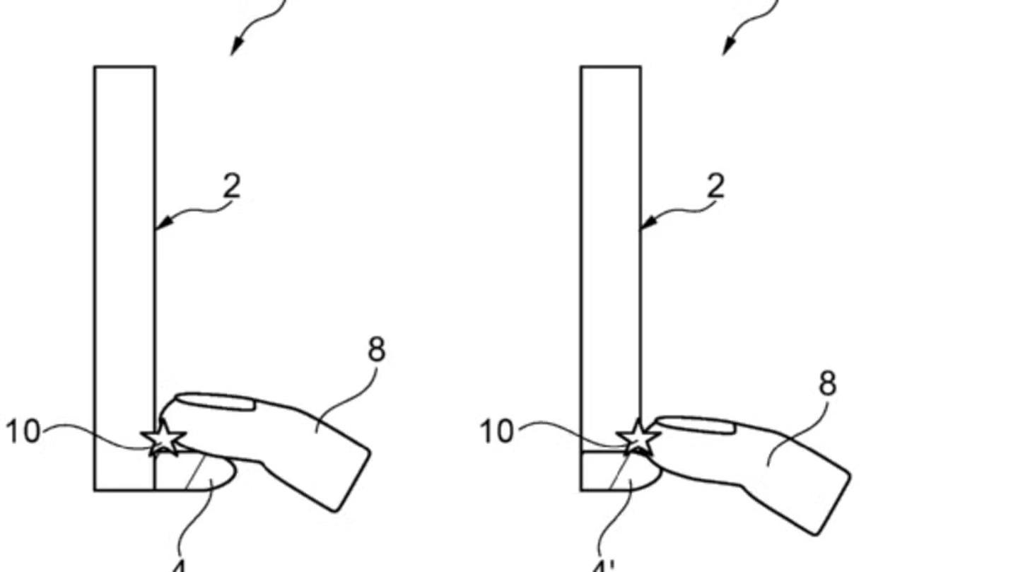
华为助力机械导盲犬问世:实时规划路径、语音交互
天眼查App显示,近日,深圳市众擎机器人科技有限公司发生工商变更,新增京东科技信息技术有限公司、福建时代泽远股权投资基金合伙企业(有限合伙)、合肥市包河区科创基金二期合伙企业(有限合伙)等为股东,注册...
松果财经讯,天眼查App显示,近日,四川成都水井坊集团有限公司发生工商变更,Cristina SaminSuner卸任法定代表人、董事长、总经理,由SUDHINDRA SHIVNEGERE RAJARAO接…
天眼查App显示,近日,中国石油化工集团有限公司发生工商变更,马永生卸任法定代表人、董事长,由侯启军接任。 该公司成立于1983年9月,注册资本约3265亿人民币,经营范围含组织所属企业石油、天然气的勘探、开…
【大河财立方消息】7月16日消息,据天眼查App,近日,四川成都水井坊集团有限公司发生工商变更,Cristina SaminSuner卸任法定代表人、董事长、总经理,由SUDHINDRA SHIVNEGER…
7月16日,天眼查App显示,近日,四川成都水井坊集团有限公司发生工商变更,Cristina SaminSuner卸任法定代表人、董事长、总经理,由SUDHINDRA SHIVNEGERE RAJARAO接…
7月16日,天眼查App显示,近日,中国石油化工集团有限公司发生工商变更,马永生卸任法定代表人、董事长,由侯启军接任。该公司成立于1983年9月,注册资本约3265亿人民币,经营范围含组织所属企业石油、天然气…
天眼查App显示,近日,四川成都水井坊集团有限公司发生工商变更,Cristina SaminSuner卸任法定代表人、董事长、总经理,由SUDHINDRA SHIVNEGERE RAJARAO接任,同时部分…
天眼查App显示,近日,苏州智慧倍增数字人科技有限公司发生工商变更,新增科大讯飞旗下安徽讯飞云创科技有限公司为股东。 该公司成立于2023年8月,法定代表人为王建平,注册资本2000万人民币,经营范围包括数字…
一个真心爱你的人,会愿意花时间倾听你的想法和感受,无论你说的是生活中的琐事,还是工作上的烦恼。当你说话的时候,他会专注地看着你,眼神中充满了理解和尊重。当你遇到困难和挫折是,一个真心爱你的人会毫不...
这可是最重要的一种策略,也是能让领导更看重你的关键。升职意味着你要承担更多的责任和挑战,这时候,你得全身心投入到工作中,用出色的工作成果来证明自己的能力。他们会明白,你的升职是靠自己的努力和实力换...
其实,只要找对相处模式,婆媳也能成为亲密无间的“好闺蜜”。 这种相处模式就像对待客人一样,婆媳之间保持一定的礼貌和距离。在这种相处模式下,婆媳之间可以互相学习,共同进步。只要双方都有一颗包容和理解的...
沟通是婚姻的基石,然而很多夫妻在日常交流中,只是停留在表面的事务性沟通,如“今天吃什么”“孩子作业完成了吗”,却忽略了深度的情感交流。 在婚姻中,每个人都有自己的梦想和追求,需要不断地成长和进步。有...
属鼠人,7 月 2 日事业上有小机遇出现,可能会得到领导关注,工作进展较为顺利。属虎人,这天灵感充沛,适合在创意工作上发力,可能会有不错的成果。 属龙人,事业上可能会面临一些小竞争,但凭借自身能力能够应...
感情方面,单身的可能会有浪漫邂逅,有伴侣的和另一半相处甜蜜。工作上创意十足,能得到同事和领导的认可。工作中按部就班就能完成任务,可能会有小惊喜。爱情运势佳,和喜欢的人有进一步发展的可能。感情中多一...
他们的床头柜说不定就藏着一些能带来好运的小物件,比如一张多年前随手放在那里的购物卡,一直没在意,在这个月却发现它可以兑换到自己心仪已久的商品;或者是一封被遗忘在角落里的信件,打开后竟然是一笔意外的...
双鱼座一直是浪漫和温柔的代名词,在7月,他们的爱情运也会迎来大爆发。 当双鱼座遇到那个让自己心动的人时,他们会沉浸在一见钟情的甜蜜感觉中。 双鱼座一直是浪漫和温柔的代名词,在7月,他们的爱情运也会迎来...
属鼠人善于发现商机,可能会有一些小的投资机会,为自己带来额外的收入。有伴侣的属鼠人,和另一半会度过一些温馨的时光,感情更加深厚。在人际关系上,属鼠人能够与周围的人友好相处,拓展自己的人脉资源。单身...
喊了N年的“高速通行免费”,这回终于有人听劝了。
观点网讯:9月14日,中国工业和信息化部联合国家发展改革委、财政部等八部门正式印发《汽车行业稳增长工作方案(2025—2026年)》,明确未来两年将通过多项举措进一步稳定和扩大汽车消费。方案提出,全面落实《国...
当前汽车市场存在多重矛盾:车企为追求短期利润而缩短产品设计寿命,与消费者期望长期使用的需求形成冲突;技术快速迭代(特别是电池技术)与消费文化中的"快消品"倾向相互叠加,共同导致了"10年使用寿命门槛"现...
7月16日,驻唱歌手在唱歌之余品尝啤酒。张进刚 摄 7月16日,一名乘客在公交车上品尝美酒。张进刚 摄7月16日,两辆“微醺巴士”行驶在路上。(无人机照片)张进刚 摄 7月16日,工作人员为乘客打啤酒…
很多人吹银行,但很少有人会告诉你,2025年一季度,中国商业银行的净息差(贷款利率-存款利率)降到1.43%,不良贷款率是1.5%。这也是为什么保险公司会在银行里避险。 保险公司再避险,就避到1%~2%的存…
热门款溢价数十倍,“海关大战假拉布布”被网友催更,今年4月以来在国内热度不断上升的拉布布(LABUBU),6月达到顶峰后有所降温,二级市场价格回落并趋稳。摩根士丹利报告提到,数百人在泡泡玛特店外排队或明星...
北京南城香创始人、董事长汪国玉在最近的采访中也提到,淘宝闪购等一波平台消费券刺激确实带动了大家的消费热情,比如原来不怎么吃外卖的用户都开始逐渐关注并实际参与其中,这让更多的顾客可以通过这次机会尝试...
盛银消费金融成立于2016年,由盛京银行、顺峰实业和德旭经贸三家公司共同设立,分别持股60%、20%、20%。但在2023年7月,盛银消费金融进行了一轮股权调整,顺峰实业退出,盛京银行的出资比例上升至75%…
伊利与澳大利亚的合作始于2016年,依托澳大利亚优质的原料资源与成熟的产业体系,伊利与澳大利亚合作伙伴在原料采购、奶牛养殖、乳业技术研发、营养保健食品等领域合作日益深入,运营有澳大利亚乳品工业园有限公...
7月19日,北京越野正式推出BJ40燃油版车型,官方指导价14.99-15.99万元,叠加补贴及置换政策后焕新价12.69万元起。新车定位全场景专业越野SUV,推出汽油标准版、汽油进阶版、柴油版及限量纪念版车型。
7月17日,哈弗大狗2026款在万众期待中正式上市,限时权益价为9.89万元起。此次推出的新车共有3款车型,提供1.5T+7DCT和2.0T+9DCT两种高效动力组合,精准满足了用户在城市通勤与户外探险中的多样化需求。作为3/4刻...
7月19日,北京越野在张家口天地梁盛大举办新品发布会,正式推出全场景专业越野SUV——BJ40燃油。新车以焕新价12.69万元起(叠加国补和厂端置换后)的诚意价格,为消费者带来50万级别的专业越野性能,标志着“越野...
新能源大六座SUV市场可谓非常热闹,这两年各种新车卷出天际!但咱消费者越来越注重“精智消费”,既要前沿科技、极致舒适,实用空间和整车安全,还要价格合理。简单说就是消费决策更趋于理性。面对广大“挑剔”的...
哈弗大狗,这款以独特方盒子设计著称的SUV车型,近日迎来了其改款车型的上市。引人注目的是,新车在上市后的24小时内,订单量便突破了2万辆,这一成绩在燃油SUV市场中尤为突出。此次推出的2026款哈弗大狗,限时权...
7月19日,2026款北京越野BJ40正式上市,共推出3款车型,售价14.99-15.99万,焕新价12.69-13.69万元,这次升级到底值不值得关注?
在张家口天地梁,一场别具一格的发布会正式揭开了北京越野新品BJ40燃油版的序幕。这款被定位为全场景专业越野SUV的新车,携汽油标准版、汽油进阶版和柴油版三款车型震撼亮相,官方指导价定在14.99万元至15.99万元...
在哈弗大狗2026款上市暨60万用户大会上,一位普通用户在现场挑战长城汽车董事长魏建军,迅速登上了热搜,用户以2分钟成功完成哈弗大狗2026款前脸的快拆快换,远超魏总此前4分钟的纪录。为了迎合用户的需求,哈弗...
华为常务董事余承东近日在微博上透露,鸿蒙智行即将推出一款备受瞩目的新车型——享界S9T旅行车,并首次展示了其独特的仙踪绿车色。这一消息迅速引发了广泛关注。
深度调整,其本质是一场挤泡沫的必然过程。
但最近,不知道是凑巧还是有意,广州多宗“烂尾楼”,竟在疯狂复活!但如你所见,广州一直在有节奏地推动整治工作,且颇有成效,令投资者敢于入场,业主得以安心。 与此同时,很多闲置项目的开发商也在全力寻求出...
晚上,我们在附近找了一家川菜馆,品尝了回锅肉、宫保鸡丁等经典川菜,父母吃得赞不绝口。今天是旅行的最后一天,琳琳带我们去了成都的商业街,让父母可以挑选一些自己喜欢的特色纪念品。 这次带父母去四川的五日...
同原先A002-0060地块相比,本次出让的A002-0108地块整体土地面积减少5000㎡;整体容积率从5.7降至3.7,住宅部分更低至3.4;用地性质完全剔除“商业用地”;住宅占规定建筑面积比例上升,占…
RealEstate网站7月16日报道,悉尼一块多年来一直被邻居用作停车位的水泥空 地,现在以约200万澳元的价格挂牌出售。“这是一块空地,前面围着铁丝网,你从街上就能看到整块土地,而且没有什么可 以展示给…
RealEstate网站7月16日报道,悉尼部分租赁物业的年租金比买房还贵——悉尼沿海地区和内城区的长期租赁房产正以超10000澳元/周的极高价格挂牌出租,这表明租 房者对生活方式住房的需求在不断攀升。 在…
2006年3月1日,沈阳城建史上一标志性工程奥体中心正式破土动工,奥体板块也顺应而生,直到今天随着城市发展重心的南移,奥体板块已由区域型商圈逐步成为城市级商圈,成为沈阳这座城市的会客厅,整个奥体板块也越...
很多优质学校配套的是几十年前开发的住宅小区,这些房龄老的房子虽然外表不起眼,但学位含金量十足,只为孩子上学不为其他,便宜的顶楼再合适不过。 @网友果果妈:房子再破也认,能上重点小学才是最值的投资,老...
其中,房价环比上涨的城市数量比5月份增加了1个,房价环比下跌城市数量比5月份增加了3个,房价下行压力正向更多城市蔓延,而这也是自2024年11月份以来新房环比下跌城市数量最多的一个月! 虽说今年6月份,西安…
以五常大米为例,今年京东超市在五常市核心产区建立一万亩京东基地,在插秧、施肥、除草、收割到加工的全流程 5 个关键环节,以最严苛的标准进行管理,实现五常大米保真可溯源,将其他渠道上出现的假冒、掺假五常...
报告显示,企业办公采购呈现出AI办公智能化、员工福利数字化、多场景化办公以及国产化需求升级四大趋势,企业办公采购正围绕“降本增效”的核心,在技术革新、场景重构、供应链安全及员工体验等多重维度实现结构性变...
就在今年爱眼日期间,京东互联网医院携手中山大学中山眼科中心,在广州举行“EYE护光明、睛彩未来”的公益活动,通过专家义诊、“护眼解压站”、“睛准投投乐”等丰富多彩的活动形式,旨在进一步提升民众“科学用眼、...
为助力考生与家长合理填报志愿,京东高考加油直播间特意邀请了杨林老师来到直播间开设靠后志愿填报必修课,针对新高考规则进行详细解读,想要了解更多专业和学校信息的考生不要错过,记得锁定6月9日17:00至20:00…
圈内人都惊了:“以前小红书种草总把流量引给淘宝天猫,两家一直剑拔弩张。 小红书种草笔记可挂上京东直链——用户刷到心动的种草内容,一点链接,连APP都不用退出,几秒内直接跳转京东商品页面两种成交自由选—...
京东方面介绍,首批发布的航线包括从京东物流重庆亚洲一号智能产业园到巴南区多个营业部的4条线路低空配送航线,最长距离达16.8公里,全自研的京东物流飞狼JDX-20无人机和JDX-50无人机常态化飞行,最大可…
以五常大米为例,今年京东超市在五常市核心产区建立一万亩京东基地,在插秧、施肥、除草、收割到加工的全流程5个关键环节,以最严苛的标准进行管理,实现五常大米保真可溯源,将其他渠道上出现的假冒、掺假五常大...
监管的职责是防止垄断,比如当年的“二选一”,而非限制企业通过合法补贴进入市场,如若因部分商家受损就叫停创新,反而会固化现有利益格局,阻碍行业进步,因为京东外卖是来解决外卖行业长期积累的行业痛点与顽...
从去年到今年,88VIP优惠的力度在逐步增大,各个品牌的“品牌会员”体系也在今年年初得到升级,平台开放了更多流量入口和玩法。 今年3月,天猫发布了2025年经营策略:全力扶持优质品牌、原创品牌,激励政策全面…
有车主在事故后紧急做功课才了解:车企在宣传时强调“无限接近L3”、“高阶智驾(车企把具备高快领航、城区领航、代客泊车功能的智驾系统统称为高阶智驾)”,听起来比“辅助驾驶”更高级,但本质上仍是L2级别,...
5月29日,我国“一带一路”TOP10影响力社会——电子商务研究中心联合教育台发布《2025年5月AppStore中国免费榜(教育)TOP100》,该榜单是基于iphone终端的下载量数据编制而成…
据介绍,部分商家利用一些考生、家长的投机心理,将押题当成牟利工具,通过宣称“神预测”“精准押题”、炒作“名师押题”“AI押题”等虚假宣传手段,诱导考生、家长购买所谓的“高考押题卷”“高考猜题库”“备...
小猿AI的核心层则是对“教育基因”与“技术进化”的深度融合——通过自研猿力大模型与顶尖推理大模型Deepseek-R1的协同进化,小猿AI构建起独特的模型矩阵:Deepseek的强推理能力精准定位学生错题根…
Q:AI大模型一直在进化,但行业内对于AI老师或者AIAgent的预期和设想似乎没有太大变化,大体上是让AI成为一个更懂每一位学生的“老师”,需要解决学习上的问题也是类似的,这样的情况下,教育AI Age…
光伏行业历经产能过剩、价格下滑和库存积压的困境,2024年下半年成为行业转折点,冷修窑炉数量增加,产能收缩,库存逐步降低,价格也逐渐企稳回升。从短期来看,2025年供需格局得到改善,库存去化加速,价格反弹...
KunTaiM300-P01教育开发板以“超强算力底座+成熟生态体系+灵活开发”为核心架构,精准解决教育领域智能化应用开发门槛高、算力资源分散、场景适配难等痛点。 ✓超强算力支撑:搭载昇腾硬件,带来澎湃A…
德雷谢维奇:是的,即使那听起来也可能是不严肃的休闲,但这是关于有时间让你决定你要做什么。现在,如果他们经历了这个过程——尽管会很困难,但它可以让你获得一种感觉,以更有活力的方式去生活,就像你真的在...
时值高考季,中国教育电视台携手升学规划行业优质品牌高考志愿填报AI工具“优志愿”共同推出高考咨询类节目《2025高考志愿填报技巧分享会》,邀请近50名升学规划行业内专家学者做客节目,为广大考生及家长带来权...
"高碧梅表示,公司将持续推进技术创新与产品迭代,深化科技赋能实体经济的战略布局。高碧梅表示,公司以“成为全球领先的数据智能与安全服务公司”为愿景,形成“双基石+双战略”业务格局。 平安证券表示,"上市...
人形机器人、低空等成本敏感度相对较低的领域,固态电池应用早于车端。
近几年,全球石英晶体元器件市场规模也存在波动
与此同时,谷歌的Gemini 2.5Pro模型凭借其成本效益,已在综合性能和编码能力的排行榜上取代了OpenAI的旗舰模型;中国DeepSeek-R1模型在更新后也重返用户排名榜前列。 而在内部战线,其与…
在最新出炉的《2025新财富500创富榜》中,站在瑞芯微身后的芯片大佬励民以173.8亿元的财富,强势跻身福州第二富豪(以公司总部所在地为标准)之位,且其财富较去年大涨73%。 截至今年第一季度末,励民直接…
“定点速报”则“定点速报”则是面向VIP会员推出的全场景强降水服务,区别于传统的降雨预警,该功能可覆盖用户所在地点过去8小时与未来48小时的逐小时降水预报,自动识别高危时段,并结合步行、骑行、驾车等具体...
7月15日,力拓集团发布消息称,力拓集团董事会已任命乔德(Simon Trott)接替石道成(Jakob Stausholm)担任首席执行官,该任命自2025年8月25日起生效。作为力拓内部成长起来的管理…
闻泰科技表示,公司同时决定引入在半导体业务领域具有深厚专业背景与丰富实践经验的人员进入董事会,从而为公司半导体业务的长远发展提供更具针对性的战略指导与决策支持。 回溯发展历程,闻泰科技成立于2006年,...
这一消息不仅迅速在X平台上掀起热潮,还引发了关于人工智能、情感连接以及未来人机关系伦理的广泛讨论:AI的未来是成为人类的工具,还是伙伴或“替代品”?此前,类似Replika和Character.AI的AI伴侣…
其中,在海尔集团工作23年的老将展波担任新时达董事长,新时达创始人纪德法的妻子,曾担任新时达董事、总经理、董事长的纪翌女士出任公司副董事长。在海尔工作24年的刘长文担任新时达总经理职务、非独立董事,在...
雷诺表示,临时CEO明托将与集团董事长让·多米尼克·塞纳德(Jean-Dominique Senard)共同负责公司日常运营管理工作。 卢卡·德·梅奥于6月15日发布声明宣布,为“在汽车行业之外寻求新的挑战”…
7月15日,闻泰科技发布公告称,公司董事会于近日收到董事长兼总裁张秋红、职工代表董事兼副总裁董波涛、董事谢国声、董事会秘书高雨的书面辞任报告,因工作变动申请辞去公司董事、高级管理人员相关职务。 闻泰科...
自2001年6月起,何锡万曾在奥克斯集团担任多项职务,包括董事、董事长及总裁,其现任职务为董事。 2019年6月,格力电器发布《关于奥克斯空调股份有限公司生产销售不合格空调产品的举报信》,指出奥克斯部分空调与...
我们甚至赋予“生命之书”这个比喻更为具体的物理含义:基因组由总共 109 本不同的书构成,分为 23卷(每一卷代表一对人类染色体),每一页上都密密麻麻地写着由 4 个字母(A,T,C,G)按各种顺序组成的文…
在这艘飞船所携带的众多“太空包裹”中,一款由青岛英派斯健康科技股份有限公司精心打造的核心肌肉锻炼装置尤为引人注目,它正式成为了中国空间站的新居民。在这一背景下,英派斯凭借其卓越的科研实力和行业影响...
空客透露,首架在中国进行机身系统装配的A321飞机的前后机身,已于7月初通过海运抵达天津港,顺利转运至西飞天津厂区。 接下来,空客将与西飞天津合作,预计今年10月完成系统装配的机身将交付至空客天津A320系…
与此同时,武汉正以全方位的创新布局和产业链整合,在全球人形机器人领域实现突围。这一突破不仅体现在技术研发的领先性上,更通过学研产用融的深度协同,构建起从核心零部件到整机应用的完整生态体系。 武汉发布...
面对逆全球化趋势的影响,王兴兴表示,宇树科技已通过软件开源以及客户联合开发共同推动行业发展,“目前机器人和AI都面临很大挑战,需要全球共同努力推动这件事,大家共同把技术和产品做好,为全世界提供更好的...
成立于2006年的纽氏达特做到全球出货量第二用了不到20年时间,珞石机器人带动20余家配套企业集聚济宁……它们的壮大,深植于山东雄厚的产业土壤——拥有41个工业大类,装备产业发展势头强劲;源自全维度、全周…
英伟达CEO黄仁勋7月16日在接受《中国日报》专访时表示中国发展人形机器人处于一个非常优势的位置。“中国有三方面的优势,第一,已经拥有非常优秀的AI 技术,第二,中国在机电一体化方面极其出色,第三点是中国…
7月16日,黄仁勋在致辞中表示,中国的开源AI是推动全球进步的催化剂,让各国和各行业都有机会参与这一AI革命。据5月20日业绩说明会,公司于2025年4月11日披露的设立合资公司事项相关工作正在有序推进中,…
湖北日报讯(记者李朝霞、戴文辉、刘柳、通讯员李胜唐)7月16日从湖北省人形机器人产业链对接会上获悉,武汉市力争到2027年基本建成人形机器人产业创新体系,产业规模达到100亿元以上。 我省在链博会上开设人形机...
目前,“磐石·科学基础大模型”已系统掌握数、理、化、天、地、生六大学科核心定理、定律与专业知识,支持跨学科工具的自主规划、按需调用,并针对关键共性科学计算问题构建了智能求解器,可实现对数据和模型等...
这款芯片让客户可以连接多个小型数据中心,用于开发或运行人工智能模型
库克:从未对苹果的产品规划感到如此兴奋
在AI时代,高质量数据集被称为“核心燃料”,是数智融合应用的核心基石